Teil II – Wahlaufgaben
Aufgabe 5: Elektrizitätslehre
Schülerexperiment: Transformator
Untersuche am unbelasteten Transformator die Gültigkeit des Gesetzes für drei unterschiedliche Verhältnisse der Windungszahlen.
Bearbeite die Aufgabe entsprechend der Arbeitsschritte beim Experimentieren:
-
Vorbereitung (Schaltplan; Messwertetabelle)
-
Durchführung (Aufbau; Messwerte)
-
Auswertung (Ergebnis; Fehlerbetrachtung)
Hinweis:
Lass die Schaltung von der Lehrkraft überprüfen und beachte die zulässige Höchstspannung.
Erkläre die Wirkungsweise eines Transformators.
Nenne ein Beispiel für die Anwendung von Transformatoren.
Im Dezember schmücken Schwibbögen die Fenster und Vorgärten (siehe Bild).

Frau Meier hat einen Schwibbogen mit 15 in Reihe geschalteten Glühlampen. Die Glühlampen sind jeweils für geeignet und haben die Leistung
An einer Glühlampe liegt die zulässige Höchstspannung an. Berechne die elektrische Stromstärke.
Ermittle die im Monat Dezember entstehenden Kosten, wenn der Schwibbogen 6 Stunden am Tag leuchtet. Elektroenergie kostet
Frau Meier überlegt, die Glühlampen durch LED-Leuchtmittel zu ersetzen. Gib zwei Vorteile einer LED gegenüber einer Glühlampe an.
Die Nutzung der Lampen des Schwibbogens in einer Parallelschaltung mit Netzspannung würde zur Zerstörung der Lampen führen.
Begründe.
Aufgabe 6: Thermodynamik
Auf einer Werbetafel im Baumarkt steht:
Entfessle die Kraft der Sonne mit unseren Sonnenkollektoren!Energieeffizient, umweltfreundlich und leicht zu transportieren – perfekt als Poolheizung. Dieser Sonnenkollektor wird hinter der Filteranlage des Pools angeschlossen. Strömt das Wasser durch den Sonnenkollektor, wird es durch die Sonnenenergie erwärmt. Für eine höhere Heizleistung können sogar mehrere Kollektoren in Reihe verbunden werden. Unsere schwarzen Sonnenkollektoren haben einen Wirkungsgrad von unglaublichen |
Gib an, welche Energieumwandlung in einem Sonnenkollektor stattfindet.
Nenne einen Grund, warum das Material von Sonnenkollektoren schwarz ist.
Beschreibe zwei Arten der Wärmeübertragung, die beim Erwärmen des Wassers auftreten.
Erläutere die Aussage zum Wirkungsgrad des Sonnenkollektors.
Begründe, warum im Winter das Wasser aus den Sonnenkollektoren abgelassen werden muss.
Ein Pool mit einer Oberfläche von ist mit
Wasser gefüllt.
Berechne die Wärme, die dem Poolwasser zugeführt werden muss, um diesen von auf
zu erwärmen.
Das Wasservolumen im Pool verringert sich auch bei Nichtnutzung täglich um Liter bis
Liter pro Quadratmeter Oberfläche.
Benenne den physikalischen Vorgang.
Gib zwei Gründe für die unterschiedlichen Verluste an.
Mit einem Sonnenofen wurde in einem Topf mit Deckel Wasser erwärmt (siehe Bild).

Dabei wurden folgende Werte aufgenommen:
|
Zeit |
Temperatur |
|---|---|
|
|
|
|
|
|
|
|
|
|
|
|
|
|
|
|
|
|
|
|
|
|
|
|
Zeichne ein zugehöriges -Diagramm.
Beschreibe und begründe den Temperaturverlauf nach der fünften Minute.
Skizziere in das Diagramm einen Temperaturverlauf für das Erwärmen des Wassers im Topf ohne Deckel.
Begründe, warum die Position des Topfes (siehe Bild) am effektivsten zur Erwärmung des Wassers ist.
Aufgabe 7: Ein Besuch im Bergbau-Technik-Park
Im Süden von Leipzig befindet sich der Bergbau-Technik-Park. Auf dem Gelände kann an 23 Stationen viel über die Förderung von Braunkohle erfahren werden. Eine Hauptattraktion ist der Tonnen schwere Schaufelradbagger. Auch eine E-Lok mit Abraum- und Kohlewagen gewährt einen authentischen Einblick in die Vergangenheit.
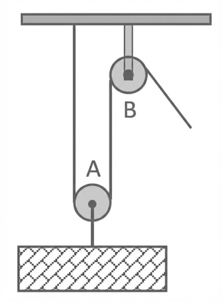
Zum Anheben von Lasten werden kraftumformende Einrichtungen verwendet.
Die Abbildung zeigt vereinfacht zwei davon.
Benenne die kraftumformenden Einrichtungen und
Eine Last wird, wie in der Abbildung dargestellt, um angehoben.
Gib an, wie viel Meter Stahlseil aufgerollt werden.
Begründe deine Entscheidung.

Die riesigen Abraumbagger stehen auf Raupenfahrwerken (siehe Bilder).


Begründe die Notwendigkeit für ein solches Fahrwerk.
Die E-Loks der Kohlezüge im Tagebau wurden von Gleichstrommotoren angetrieben.
Nenne zwei im Gleichstrommotor stattfindende Energieumwandlungen.
Erläutere den Aufbau und die Wirkungsweise eines Gleichstrommotors.
Von einer Lok der Masse wurden 5 Waggons zu je
Masse gezogen. Die Zugkraft der Lok beträgt
Berechne die Beschleunigung des Zuges.
Bei einer Fahrt wurden die folgenden Messwerte erfasst.
|
|
|
|
|
|
|
|---|---|---|---|---|---|
|
|
|
|
|
|
|
Zeichne ein zugehöriges -Diagramm.
Bestimme den nach zurückgelegten Weg.
Die Züge transportierten die Kohle zum Wärmekraftwerk. Die hauptsächlichen Aggregate im Wärmekraftwerk sind Generator, Heizkessel, Transformator und Turbine.
Ordne die Aggregate in der richtigen Reihenfolge für die Bereitstellung der elektrischen Energie.
Gib die Energieumwandlung im Heizkessel an.
In einem Wärmekraftwerk treten bei aufgewendeter Energie bei den Energieumwandlungen und Energieübertragungen
„Verluste“ auf.
Berechne den Wirkungsgrad.
Weiter lernen mit SchulLV-PLUS!
monatlich kündbarSchulLV-PLUS-Vorteile im ÜberblickDu hast bereits einen Account?Lösung 5: Elektrizitätslehre
Vorbereitung: Zeichne einen Schaltplan, in dem die Primärspule an eine Wechselspannungsquelle angeschlossen ist und ein Spannungsmesser parallel geschaltet wird. Die Sekundärspule wird ohne Verbraucher (unbelastet) gezeichnet, ebenfalls mit einem parallel geschalteten Spannungsmesser. Zwischen beiden Spulen muss der Eisenkern eingezeichnet sein. Lege eine Messwertetabelle mit den Spalten für die Windungszahlen der Primär- und Sekundärspule die jeweiligen Spannungen
sowie die berechneten Quotienten
und
für drei verschiedene Versuchsreihen an.
Durchführung: Baue die Schaltung nach deinem Plan auf und lasse sie vor dem Einschalten unbedingt von der Lehrkraft prüfen, wobei du auf die zulässige Höchstspannung achten musst. Lege die Wechselspannung an und lies für drei verschiedene Kombinationen von Spulen die dazugehörigen Spannungen ( und
) ab. Notiere alle Werte in deiner Tabelle.
Auswertung: Das Ergebnis sollte zeigen, dass die Werte der beiden Brüche bei allen drei Windungszahlverhältnissen fast identisch sind, womit das Gesetz experimentell bestätigt ist. In der Fehlerbetrachtung sollten mögliche Abweichungen genannt werden, wie z. B. kleine Ablesefehler an den Messgeräten oder Streuverluste des Magnetfelds im Eisenkern.
Ein Transformator wandelt Wechselspannung um. Wird an die Primärspule eine Wechselspannung angelegt, entsteht um die Spule und im Eisenkern ein sich ständig änderndes Magnetfeld. Dieses wechselnde Magnetfeld durchsetzt die Sekundärspule und induziert in ihr ebenfalls eine Wechselspannung (elektromagnetische Induktion).
Ein typisches Beispiel für die Anwendung von Transformatoren im Alltag sind Netzgeräte, wie zum Beispiel Ladekabel für elektronische Geräte.
Der Bogen hat 15 Lampen zu je was eine Gesamtleistung von
ergibt. Bei 6 Stunden am Tag über 31 Tage im Dezember läuft er insgesamt 186 Stunden. Die verbrauchte Energie ergibt sich damit wie folgt:
Bei einem Preis von pro
betragen die Kosten damit
LEDs haben einen deutlich höheren Wirkungsgrad (verbrauchen bei gleicher Helligkeit weniger Strom) und eine wesentlich längere Lebensdauer als klassische Glühlampen.
In einer Parallelschaltung liegt an jedem Bauteil die volle Spannung der Stromquelle an. Da die Lämpchen des Schwibbogens nur für maximal gebaut sind, die Netzspannung aber deutlich höher ist (in Deutschland z.B.
), würden sie durch die zu hohe Spannung bei einer Parallelschaltung sofort zerstört werden.
Lösung 6: Thermodynamik
Strahlungsenergie der Sonne wird in thermische Energie (Wärmeenergie) des Wassers umgewandelt.
Dunkle, insbesondere schwarze Oberflächen, absorbieren die auftreffende Sonnenstrahlung fast vollständig und reflektieren sie kaum. Dadurch erwärmen sie sich viel schneller und stärker.
Zwischen Sonne und Kollektor findet durch das Sonnenlicht, das die Kollektoren erwärmt, Wärmestrahlung statt. Der Übergang der Wärme vom heißen Material des Kollektors an das hindurchströmende Wasser heißt zudem Wärmeleitung.
Ein Wirkungsgrad von bedeutet, dass
der gesamten auf den Kollektor treffenden Sonnenenergie in nutzbare Wärme für das Wasser umgewandelt werden. Die restlichen
gehen ungenutzt an die Umgebung verloren.
Wasser hat seine größte Dichte bei und dehnt sich aus, wenn es zu Eis gefriert. Würde das Wasser in den Rohren bleiben und gefrieren, könnten die Sonnenkollektoren platzen und zerstört werden.
Gegeben sind Wasser, was einer Masse von
entspricht. Mit der spezifischen Wärmekapazität von Wasser
ergibt sich:
Es müssen also Wärmeenergie zugeführt werden.
Der physikalische Vorgang ist das Verdunsten.
Die Menge variiert stark, da sie abhängig von Wetterbedingungen wie der Lufttemperatur, der Stärke der Sonneneinstrahlung oder der Windgeschwindigkeit ist.

Die Temperatur steigt nicht weiter an, sondern verbleibt konstant bei Das liegt daran, dass Wasser bei dieser Temperatur siedet. Die gesamte nun noch zugeführte Energie wird für den Übergang vom flüssigen in den gasförmigen Zustand (Verdampfungswärme) genutzt.

Der Topf befindet sich genau im sogenannten Brennpunkt des Parabolspiegels des Sonnenofens. Die gewölbte Form des Spiegels sorgt dafür, dass alle parallel einfallenden Sonnenstrahlen reflektiert und genau an dem Punkt gebündelt werden, wo der Topf im Bild steht.
Lösung 7: Ein Besuch im Bergbau-Technik-Park
Die Einrichtung ist eine lose Rolle und die Einrichtung
ist eine feste Rolle.
Es werden insgesamt Stahlseil aufgerollt. Das liegt an der losen Rolle: Sie halbiert zwar die Kraft, die zum Heben der Last aufgewendet werden muss, verdoppelt aber im Gegenzug den Weg, um den das Seil gezogen werden muss. Da die Last um
angehoben wird, verdoppelt sich somit der Seilweg.
Ein Abraumbagger besitzt eine enorme Masse. Ein Raupenfahrwerk vergrößert die Auflagefläche auf dem Boden drastisch. Da Druck Kraft pro Fläche ist verringert eine riesige Fläche den Druck auf den weichen Tagebauboden, wodurch der Bagger nicht tief einsinkt.
Im Motor wird elektrische Energie in mechanische Energie (Bewegung/Kinetik) umgewandelt. Zusätzlich wird ungewollt mechanische Energie durch Reibung in thermische Energie (Abwärme) umgewandelt. Außerdem wird ungewollt elektrische Energie in thermische Energie (Abwärme) umgewandelt.
Der Gleichstrommotor besteht aus einem feststehenden Magneten (Stator), einer drehbaren Spule im Inneren (Rotor/Anker) und einem Kommutator (Polwender) mit Schleifkontakten. Fließt Strom durch den Anker, wird er zum Elektromagneten und wird durch die Abstoßung bzw. Anziehung der Magnetpole von Rotor und Stator in Drehung versetzt. Der Kommutator sorgt durch rechtzeitiges Umpolen des Stroms dafür, dass die Drehbewegung kontinuierlich fortgesetzt wird.
Die Gesamtmasse beträgt Tonnen bzw.
Zusammen mit der Zugkraft von
folgt:

Ablesen aus dem Diagramm liefert ca. für den gesuchten Wert.
-
Heizkessel
-
Turbine
-
Generator
-
Transformator
Im Heizkessel wird die chemische Energie der Kohle durch Verbrennung in thermische Energie (Wärme des heißen Wasserdampfes) umgewandelt.
Wenn von aufgewendeter Energie
als Verlust gelten, bleiben
als nutzbare Energie übrig. Der Wirkungsgrad ergibt sich somit als