Aufgabe A2
Hinweis: Wähle aus den Aufgaben A1 und A2 eine Aufgabe, aus den Aufgaben B1 und B2 eine Aufgabe und aus den Experimenten E1 und E2 ein Experiment aus.
Generatoren sind wesentliche Bestandteile nahezu aller Kraftwerksarten. Dies trifft für konventionelle Wärmekraftwerke ebenso zu wie für Wasserkraftwerke, Windkrafiwerke, geothermische und solarthermische Kraftwerke. Generatoren werden also auch nach der Abschaltung von Kern- und Kohlekraftwerken in Deutschland eine wichtige Rolle bei der Energieversorgung spielen.
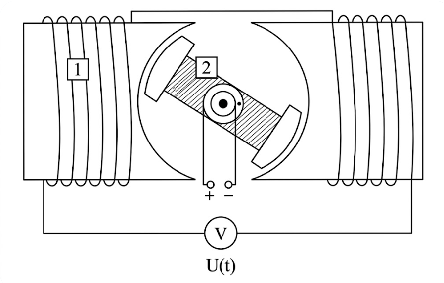
In der nachstehenden Abbildung ist schematisch ein möglicher Aufbau eines Wechselspannungsgenerators dargestellt.

Gib die Bezeichnungen der Hauptteile an, die mit 1 und 2 beschriftet sind.
Erkläre die Entstehung der Spannung Gehe in diesem Zusammenhang darauf ein, weshalb diese Spannung eine Wechselspannung ist.
Für die von einem Generator erzeugte Spannung gilt die Gleichung
Gib je eine Bezeichnung für die in der Gleichung enthaltenen physikalischen Größen
und
an. Leite die Gleichung mit Hilfe grundlegender physikalischer Gesetzmäßigkeiten her.
Skizziere das Diagramm für einen Generator, der mit der Drehzahl
rotiert, für das Zeitintervall einer Umdrehung. Kennzeichne die Amplitude
und die Periodendauer
der Spannung
in deiner grafischen Darstellung. Dabei soll gelten:
Skizziere im gleichen Diagramm für das gleiche Zeitintervall den Spannungsverlauf wenn der Generator mit der doppelten Drehzahl rotiert.
Berechne den Effektivwert der von einem Generator erzeugten Spannung
wenn folgende Angaben gelten:
;
;
; Drehzahl
Um das Jahr 1922 untersuchte A. H. COMPTON die Streuung monochromatischer Röntgenstrahlung mit der Wellenlänge an Kristallen. Dazu nutzte er eine Anordnung, die im nachstehenden Bild 1 schematisch dargestellt ist.

Bild 2 zeigt graphische Darstellungen für eine Auswahl der Messergebnisse von COMPTON. Darin sind bei unterschiedlichen Streuwinkeln jeweils die Intensität
der vom Zählrohr detektierten gestreuten Strahlungen mit den Wellenlängen
und
dargestellt.
Für die Differenz beider Wellenlängen gilt die Gleichung:
Darin wird als COMPTONwellenlänge bezeichnet, welche den Betrag
hat.

Erkläre die Entstehung der Streustrahlung mit der Wellenlänge
Gehe in diesem Zusammenhang darauf ein, inwiefern der COMPTON-Effekt im Widerspruch zum Wellenmodell des Lichtes steht.
In einem Versuch wird Röntgenstrahlung der Wellenlänge auf einen Graphitkörper gerichtet. Unter dem Winkel
wird die Streustrahlung der Wellenlänge
gemessen.
Berechne die Masse der Photonen des einfallenden Lichtes. Leite die zur Berechnung verwendete Gleichung aus grundlegenden physikalischen Ansätzen her.
Berechne die kinetische Energie des gestoßenen Elektrons.
Stelle die Impulse aller an diesem Streuvorgang beteiligten Teilchen in einer Skizze dar. Ermittle den Streuwinkel der Röntgenstrahlung und den Impuls
des gestoßenen Elektrons.
Begründe, dass der COMPTON-Effekt kaum nachweisbar wäre, wenn der Versuch mit sichtbarem Licht durchgeführt würde.
Weiter lernen mit SchulLV-PLUS!
monatlich kündbarSchulLV-PLUS-Vorteile im ÜberblickDu hast bereits einen Account?-
Teil 1 ist der Stator
-
Teil 2 ist der Rotor
-
Magnetische Flussänderung: Durch die Drehung der Spule im Magnetfeld ändert sich kontinuierlich die vom Magnetfeld durchsetzte Fläche. Dadurch ändert sich der magnetische Fluss
der durch die Spule fließt, im Verlauf der Zeit stetig. Nach dem Induktionsgesetz wird dadurch eine Spannung
induziert.
-
Periodischer Polwechsel: Der magnetische Fluss durch die Spule nimmt durch die Rotation abwechselnd zu, erreicht ein Maximum, nimmt wieder ab und kehrt sein Vorzeichen um (wenn die Spule sich um mehr als 180° gedreht hat).
-
Sinusförmiger Verlauf: Diese periodische Änderung führt zu einer harmonischen Schwingung der Spannung, die als typische Sinuskurve einer Wechselspannung am Voltmeter abgegriffen wird.
Benennung:
-
Windungszahl der Spule
-
magnetische Flussdichte
-
(wirksame) Spulenfläche
-
Kreisfrequenz der Rotation
Herleitung:
Der magnetische Fluss durch eine Spule mit der Fläche
im homogenen Magnetfeld
hängt vom Winkel
zwischen den Feldlinien und der Flächennormalen ab:
Da sich die Spule mit der Kreisfrequenz dreht, gilt für den Winkel
Somit:
Die induzierte Spannung in einer Spule mit
Windungen ist die negative zeitliche Änderung des magnetischen Flusses (Faradaysches Induktionsgesetz):
In diesen Ausdruck kann eingesetzt werden und nach der Zeit
abgeleitet werden (unter Verwendung der Kettenregel). Daraus folgt:
Das entspricht der gesuchten Gleichung.
-
Kurve 1 (Drehzahl
) (pinke Kurve):
-
Startet bei
.
-
Verläuft als Cosinus-Kurve bis zum Zeitpunkt
-
-
Kurve 2 (Drehzahl
) (blaue Kurve):
-
Startet bei
.
-
Die Kurve ist gestaucht und in
Richtung gestreckt.
-

Entstehung der Streustrahlung mit der Wellenlänge
Die Streustrahlung mit der größeren Wellenlänge entsteht durch den unelastischen Stoß eines Röntgenphotons mit einem (quasi freien) Elektron des Graphit-Kristalls.
-
Energieübertrag: Das einfallende Photon besitzt die Energie
Beim Zusammenstoß mit dem Elektron gibt das Photon einen Teil seiner Energie an das Elektron ab.
-
Wellenlängenänderung: Da das gestreute Photon nach dem Stoß weniger Energie besitzt (
), ist auch seine Frequenz
kleiner (
). Aufgrund des Zusammenhangs
muss daher die Wellenlänge
zunehmen (
).
-
Winkelabhängigkeit: Je größer der Streuwinkel
ist, desto mehr Energie überträgt das Photon auf das Elektron. Dies erklärt, warum im Diagramm der Abstand zwischen
und
(die Wellenlängendifferenz
) mit zunehmendem Winkel wächst.

Widerspruch zum Wellenmodell des Lichtes:
Der Compton-Effekt kann mit der klassischen Elektrodynamik (Wellenmodell) nicht erklärt werden:
-
Klassische Erwartung: Nach dem Wellenmodell müssten die Elektronen im Graphit durch das elektrische Feld der einfallenden elektromagnetischen Welle in erzwungene Schwingungen versetzt werden. Diese schwingenden Ladungen würden dann als Dipole Strahlung derselben Frequenz (und damit derselben Wellenlänge
) aussenden.
-
Der Widerspruch: Das Wellenmodell sieht keine Möglichkeit vor, dass sich die Wellenlänge allein durch den Streuwinkel ändert. In der klassischen Physik hängt die Energie einer Welle von der Amplitude (Intensität) ab, nicht von der Wellenlänge.
-
Die Lösung: Der Effekt ist nur erklärbar, wenn Licht als einen Strom von Teilchen betrachtet wird, die mit Elektronen kollidieren können. Der Compton-Effekt ist somit ein direkter Beweis für den Teilchencharakter des Lichts (Welle-Teilchen-Dualismus).
Es gelten folgende Gleichungen:
Das kann gleichgesetzt werden:
Mit den gegebenen Werten ergibt sich somit:
Mit den gegebenen Werten ergibt sich somit:
Skizze der Impulse:

Ermitteln des Streuwinkels:
Daraus folgt mit
Daraus folgt:
Ermitteln des Impulses
Es gilt:
-
Für das einfallende Photon gilt:
-
Für das gestreute Photon gilt:
Diese beiden Impulse können eingesetzt werden:
Hier können nun die Werte eingesetzt werden:
Alternativ kann grafisch bestimmt werden.
-
Auflösungsvermögen: Die Verschiebung
ist bei sichtbarem Licht so winzig, dass sie nicht von der ursprünglichen Wellenlänge
unterschieden werden kann. In Bild 2 würden die Peaks für
und
bei sichtbarem Licht praktisch exakt aufeinanderliegen.
-
Dominanz anderer Effekte: Bei sichtbarem Licht überwiegt die klassische Streuung an fest gebundenen Elektronen, bei der keine Wellenlängenänderung auftritt. Der COMPTON-Effekt setzt voraus, dass die Energie des Photons deutlich größer ist als die Bindungsenergie des Elektrons – das ist bei sichtbarem Licht im Vergleich zu Röntgenstrahlen kaum der Fall.