2 – Werkstoff und Werkverfahren, Gesundheitsschutz
Zur Herstellung von Baustahl muss zunächst Roheisen gewonnen werden. Bringe diesbezüglich die Aussagen zum Hochofen in die richtige Reihenfolge, indem du diese passend von 1 bis 6 nummerierst.
|
Das heißt, dem Eisenoxid wird Sauerstoff entzogen. |
|
|
Durch Einblasen heißer Luft wird der Koks entzündet. |
|
|
Der brennende Koks erzeugt extrem heiße Temperaturen. |
|
|
Das dabei entstehende geschmolzene Roheisen kann unten am Hochofengestell abgestochen werden. |
|
|
Diese führen zu Reduktionsprozessen. |
|
|
Der Hochofen wird von oben mit einem Gemisch aus Koks, Eisenerzpellets und weiteren Stoffen beschickt. |

Stahl gehört zu den Legierungen. Definiere den Begriff „Legierung“ allgemein. Begründe, weshalb Legierungen hergestellt werden. Nenne außerdem zwei weitere Legierungen.
Aluminium ist ein vielseitig verwendbarer Werkstoff. Setze in jedem Satz ein Kreuz, sodass sich jeweils eine korrekte Aussage zu diesem Metall ergibt.
|
Aluminium gewinnt man aus dem Erz |
Chalkopyrit. Hämatit. Bauxit. Kupferkies. |
|
Der Schmelzpunkt von Aluminium liegt bei etwa |
660 °C. 231,9 °C. 1400 °C. 900 bis 1083 °C. |
|
Auf der Aluminiumoberfläche bildet sich an der Luft |
eine lötbare Patina. eine bräunliche Rostschicht. giftiger Grünspan. eine dünne, harte Oxidschicht. |
|
Gehärtetes Aluminium ist im Handel erhältlich unter dem Namen |
Temperal. Dural. Stal. Eloxal. |
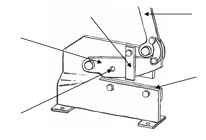
Zum Trennen von Aluminiumblechen kann die Hebelblechschere verwendet werden. Beschrifte die abgebildete Darstellung mit den entsprechenden Fachbegriffen.

Zum Trennen des Aluminiumrundstabes kann die Metallbügelsäge verwendet werden. Zeichne diese Säge und beschrifte die Einzelteile mit den dazugehörigen Fachbegriffen.
Ein Streifen Aluminiumblech soll rechtwinklig abgekantet werden. Beschreibe mit Hilfe von Fachbegriffen anhand der beiden Abbildungen den Werkvorgang des Biegens eines Blechs im Schraubstock.


Nenne drei mögliche Unfall- oder Gesundheitsgefahren bei der Arbeit mit Metall und führe jeweils eine entsprechende Schutzmaßnahme an.
In Aufgabe 3 verwendest du sogenannte Rändelschrauben. Benenne die weiteren abgebildeten Schrauben und Verbindungsmittel korrekt.
![]()
|
![]()
|
![]()
|
![]()
|
![]()
|
![]()
|
Weiter lernen mit SchulLV-PLUS!
monatlich kündbarSchulLV-PLUS-Vorteile im ÜberblickDu hast bereits einen Account?Richtige Reihenfolge:
5. Das heißt, dem Eisenoxid wird Sauerstoff entzogen.
2. Durch Einblasen heißer Luft wird der Koks entzündet.
3. Der brennende Koks erzeugt extrem heiße Temperaturen.
6. Das dabei entstehende geschmolzene Roheisen kann unten am Hochofengestell abgestochen werden.
4. Diese führen zu Reduktionsprozessen.
1. Der Hochofen wird von oben mit einem Gemisch aus Koks, Eisenerzpellets und weiteren Stoffen beschickt.
Definition „Legierung“:
Eine Legierung ist die Mischung zweier oder mehrerer Metalle.
Begründung, weshalb Legierungen hergestellt werden:
-
Die Mischung geschieht meist durch Schmelzfluss.
-
Dabei entsteht ein neues Metall.
-
Durch Legieren sollen die Materialeigenschaften verbessert werden.
-
Weitere Legierungen sind z. B.: Messing und Bronze.
Korrekte Aussagen:
|
Aluminium gewinnt man aus dem Erz |
Chalkopyrit. Hämatit. Bauxit. Kupferkies. |
|
Der Schmelzpunkt von Aluminium liegt bei etwa |
660 °C. 231,9 °C. 1400 °C. 900 bis 1083 °C. |
|
Auf der Aluminiumoberfläche bildet sich an der Luft |
eine lötbare Patina. eine bräunliche Rostschicht. giftiger Grünspan. eine dünne, harte Oxidschicht. |
|
Gehärtetes Aluminium ist im Handel erhältlich unter dem Namen |
Temperal. Dural. Stal. Eloxal. |
Beschriftete Darstellung:

Beschriftete Zeichnung der Metallbügelsäge:

Werkvorgang des Biegens eines Blechs im Schraubstock:
-
Das Blech an der Risslinie im Schraubstock einspannen.
-
Dabei einen Biegeklotz aus Hartholz zulegen.
-
Zur Schonung der Metalloberflächen werden Schutzbacken beim Einspannen verwendet.
-
Das freie Blechende wird von Hand gebogen.
-
Am Knick wird das Blech mit dem Schlosserhammer und einer Hartholzzulage bearbeitet.
Unfall- oder Gesundheitsgefahren bei der Arbeit mit Metall und entsprechende Schutzmaßnahme:
-
Stichverletzung an Reißnadel → Ordnung am Arbeitsplatz
-
Schnitt an scharfen Kanten des Alublechs → zeitnahes Entgraten der Kanten
-
Quetschverletzung durch den Schlosserhammer beim Abkanten → konzentriertes Arbeiten
Benennung der weiteren abgebildeten Schrauben und Verbindungsmittel:
![]()
|
![]()
|
![]()
|
|
Schlossschraube |
Spanplattenschraube |
Linsenkopfschraube |
![]()
|
![]()
|
![]()
|
|
Plattenverbinder |
Nagel |
Flügelschraube |





